Напишите нам

Держатели инструмента ББТ адаптер рукав

BRIGHT-TOOLS SK Держатели инструмента для механического шпинделя и режущего инструмента и другого вспомогательного инструмента.

Держатель зажимного инструмента DIN6499 различных размеров, высокоскоростная и высокоточная обработка. Механический шпиндель и режущие инструменты и другие аксессуары. Высокоточный держатель инструмента Sk Shank, сбалансированный G6.3 или G2.5 На выбор. Это простой и популярный стандарт соединения хвостовика шпинделя, в основном SK30 SK40 SK50... И т. д .. Плесень промышленности, и высокоскоростной гравировальный станок, используется больше.

Купить Держатели инструмента ББТ адаптер рукав

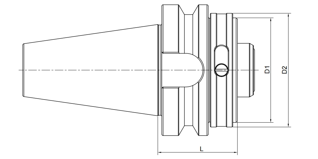
ТЕХНИЧЕСКИЙ ЧЕРТЕЖ РУКАВА АДАПТЕРА ДЕРЖАТЕЛЕЙ ИНСТРУМЕНТОВ

Держатели Инструмента Адаптер Рукав
Нацементации закалки
Структура продукта

СПЕЦИФИКАЦИЯ РУКАВА АДАПТЕРА ДЕРЖАТЕЛЕЙ ИНСТРУМЕНТОВ BBT

СПЕЦИФИКАЦИЯ РУКАВА АДАПТЕРА ДЕРЖАТЕЛЕЙ ИНСТРУМЕНТОВ BBT


РазмерД1Д2Л
BBT40-HSK63C-70637070
BBT50-HSK63C-60637060
BBT50-HSK100C-9010011090


КОНТАКТ ЯРКИЙ-ИНСТРУМЕНТЫ
Адрес:
253000, Chongde 5th Avenue, Gaotie Новый район, Дэчжоу, Шаньдун, Китай.
ПОЛУЧИТЕ СВОЮ БЕСПЛАТНУЮ КОНСУЛЬТАЦИЮ
Яркий-Инструменты, Яркий-Будущее
Электронная почта :
Sales@bright-tools.com
Скайп:
Sdjinjie101
Адрес :
253000, Chongde 5th Avenue, Gaotie Новый район, Дэчжоу, Шаньдун, Китай.
Быстрые ссылки
Компания Главная Держатели инструмента CNC Видео О ЯРКИХ-ИНСТРУМЕНТАХ Адаптер BT к PSC 2025-ЯРКИЙ-Каталог ИНСТРУМЕНТОВ DIN69880-VDI Держатели инструментов Держатели инструмента Морзе Держатели расточного инструмента Переходник SK к PSC Адаптер HSK к PSC Термоусадочная машина, стандартная Что такое держатели инструментов BMT? AG90 АГУ Поворотный держатель инструмента Поворотный держатель инструмента В наличии имеются удлиненные термоусадочные патроны. ЭМО Hannover-2023_copy20241023 Продукция | Гидравлическая цанга Модернизированная и новая! Цанговый патрон ER с гайкой UM Цанговый патрон BBT ER с гайкой UM MTA конус Морзе ER цанговый патрон Цанга ER BT тянуть шпильки B1A Радиальный, короткий, охлаждающая жидкость Цанговый патрон DIN 69871 ER с гайкой UM Цанговый патрон ANSI B5.50 ER с гайкой UM DIN 69893 (ISO 12164) HSK-E Цанговый патрон ER Цанговый патрон DIN2080 ER с мини-гайкой Держатель токарного инструмента BMT OD HSK・T расточные бар Держатели Цанговый патрон NBT ER Цанговый патрон ER без приводных пазов с шестигранной гайкой Держатель расточного инструмента JIS B 6339 Гайка ER-UM ER гаечный ключ-шестигранный Держатели Инструмента Тип Втулки B MTB конус Морзе ER цанговый патрон Уменьшение рукав для держателя скучно бар AG90-ER11 Как заблокировать держатели инструментов SLA Держатель инструмента Сколько способов зажима? Ваш держатель инструмента SLA Почему это так дорого? Яркие инструменты Держатели инструмента Соответствует держателям инструмента другой марки MOD-ИЗМЕНЕНИЕ АДОПТЕР Держатель инструмента Время установки Adatper Процесс эксплуатации тепловых машин В этом видео подробно рассказывается о нашей машине для очистки конусов держателей инструментов. 2 шт. Тонкий термоусадочный патрон BT BT Термоусадочный патрон, 3 °, тонкий, форма A BT Термоусадочный патрон, 3 °, тонкий, форма B Патрон сокращения БТ, 3 °, регулярный, формирует а HSK-A Термоусадочный патрон, 3 °, обычный, форма A BT Термоусадочный патрон, 3 °, обычный, форма B Термоусадочный патрон BT, 3 °, обычный, охлаждающая жидкость Головка BMT с осевым приводом, DIN 1809 ТЕХНИЧЕСКИЙ ЧЕРТЕЖ TG COLLET CHUCK Расширение термоусадочного патрона Лицо мельница держатель Продукция Статические и управляемый инструменты Техника Помощь Держатели инструмента BRIGHT-TOOLS Цанга Держатели сверлильный инструмент Аксессуары DIN69880-VDI Держатели инструментов охлаждающей жидкости 2025-BT Инструменты Термоусадочная машина, охлаждение DIN69880-VDI Держатель инструмента Цанговый патрон ER с шестигранной гайкой БТ40 СФС 06 160 3 ° Держатели инструмента держателей инструмента КНК/ЭР Набор цанги ER SK тянуть шпильки MTA конус Морзе OZ цанговый патрон Цанговый патрон DIN 69871ER с шестигранной гайкой Цанговый патрон ANSI B5.50 ER с шестигранной гайкой DIN 69893 (ISO 12164) HSK-E Держатели лицевой фрезы DIN2080 ER цанговый патрон с гайкой UM Цанговый патрон BBT ER с шестигранной гайкой B2A Радиальный, короткий, охлаждающая жидкость HSK・Т токарные инструменты СБХ для внешних и облицовки Цанговый патрон ER без дисков с гайкой MS Головка BMT радиальная управляемая, DIN 1809 DIN 69871 Держатель расточного инструмента Гайка-шестигранник ER ER Гаечный ключ-Мини Держатели Инструмента Втулка Типа J Держатель Инструмента Вагонетка Стандарт MTB конус Морзе OZ цанговый патрон Уменьшающая втулка для держателя расточной балки SL40-20 Запирающее устройство для держателей конических инструментов 7/24 и HSK AG90-ER16 AG90-ER20 AG90-ER25 AG90-ER32 AG90-ER40 AG90-BT30 AG90-BT40 AGB-BT40 AG90-BT50 AG90-ER16X2 AG90-ER20X2 AG90-ER25X2 AG90-ER32X2 AG90-ER40X2 AG90-BT40X2 AG90-F50 AG90-F63 AG90-F80 AG90-F100 AGU-ER16 AGU-ER20 AGU-ER25 AGU-ER32 AGU-BT50 Хотите ли вы сияние держателей инструментов? Plz Выберите наши чистящие устройства Процесс работы термоусадочной машины Термоусадочная Чак Расширение Тонкий HSK-A Термоусадочный патрон, 3 °, тонкий, форма A HSK-A Термоусадочный патрон, 3 °, тонкий, форма B HSK-E Термоусадочный патрон, 3 °, обычный, форма A HSK-A Термоусадочный патрон, 3 °, обычный, форма B Преимущества Компания Расточные инструменты Главные новости! Вот и приходит роботизированная рука! Вытяните шпильку Держатель инструмента BMT 2025-SK Инструменты Держатель Инструмента Adatper Рукавом Термоусадочная машина, охлаждение Гидравлический патрон BT, стандартный Введение в термоусадочные держатели инструментов ISO 7388 тянуть шпильки MTA Морзе конусности лицо мельница Держатели Форма радиального держателя B1 Правый, короткий Цанговый патрон ER с мини-гайкой DIN 69871 ER цанговый патрон с мини-гайкой DIN 69893 (ISO 12164) HSK-E Держатели концевой фрезы Weldon DIN2080 Мощность фрезерный патрон B3A Радиальный, короткий, охлаждающая жидкость HSK・Т токарные инструменты SBV для внешних и отсечки Цанговый патрон NBT SKS Цанговый патрон ER без приводных пазов с гайкой UM БМТ двойной ОД поворачивая инструментальный блок DIN 69893 HSK-A Сверлильный инструмент Цанга загерметизированная резиной Гайка ER-мини ER Гаечный ключ-UM Держатели инструментов Втулка типа C Держатель Инструмента Стенд Запирающее устройство для держателей конических инструментов 7/24 MTB Морзе конусности лицо мельница Держатели Процесс работы устройства для очистки держателя инструмента Цанговый патрон BBT ER с мини-гайкой Цанговый патрон ANSI B5.50 ER, КОРОТКИЙ Тепла Термоусадочная Машина Сломанный Лезвие Remover Фланец Держатель Инструмента Adatper Рукавом Цанговый патрон ER, модуль BT термоусадочный патрон 4,5 ° Тонкий термоусадочный патрон BT 3 ° HSK-E Термоусадочный патрон, 3 °, тонкий, форма A HSK-E Термоусадочный патрон, 3 °, тонкий, форма B HSK-F Термоусадочный патрон, 3 °, обычный, форма A HSK-E Термоусадочный патрон, 3 °, обычный, форма B Головка с осевым приводом VDI, DIN 1809 Токарные инструменты для наружных и торцевая BBT термоусадочный патрон 4,5 ° Продукт Stucture Услуги Держатель инструмента Аксессуары Держатель Инструмента Чистящее Устройство 2025-Инструменты CAT Цанговая гайка ER COLLET CHUCK, КОРОТКИЙ Термоусадочная машина, охлаждение Стандартный термоусадочный патрон 4,5 ° Гидравлический Чак Продукта Тонкая расточная головка Сверлильные головки с двумя резаками, SP/SC CAT тянуть шпильки Форма радиального держателя B2 Левый, короткий HSK・T Токарные инструменты SBN для внешних и облицовки Цанговый патрон DIN2080 OZ Грубая расточная головка с двумя резаками, CC B4A Радиальный, короткий, охлаждающая жидкость HSK・Т Токарные инструменты СБТ для внешних и облицовки Держатель инструмента для поворота лица BMT DIN 69893 HSK-F Держатель расточного инструмента MTB Морзе конус Комби Shell мельница Держатели Гайка ЭР-МС ER Гаечный ключ-MS Держатели инструмента Втулка типа DD Шкаф держателя инструмента HSK-F Гидравлический патрон, стандартный Держатель Инструмента Чистящее Устройство Цанговый патрон ER, короткий DIN 69871 ER цанговый патрон, короткий Патрон BT Shrink Fit 4,5 °, охлаждающая жидкость Тонкий термоусадочный патрон SK 3 ° HSK-F Термоусадочный патрон, 3 °, тонкий, форма A HSK-F Термоусадочный патрон, 3 °, тонкий, форма B Головка с радиально-управляемым приводом VDI, DIN 1809 Структура продукта Структура продукта Структура продукта Решения Анти вибрации Особенности гидравлического патрона 2025-HSK-A Инструменты Цанговый гаечный ключ Держатель Инструмента Чистящее Устройство Продукция | Углубленный анализ держателя сверлильного патрона ВСУ и ЦП HSK-A Гидравлический патрон, стандартный Мощность BBT фрезерный патрон Держатель инструмента Инструменты ЧПУ Термоусадочная Fit Гидравлический патрон Отделка Инструмент BRIGHT-TOOLS CNC Отт тянуть шпильки Крюк гаечный ключ Форма радиального держателя B3 Перевернутый вправо, короткий DIN 69871 Мощность фрезерный патрон Фрезерный патрон ANSI B5.50 DIN 69893 (ISO 12164) HSK-E Испытательная оправка шпинделя DIN2080 Лицо Мельница Держатели B1B4A Радиальный, короткий, охлаждающая жидкость GER цанговый патрон Держатели инструмента сверлильный бар BMT Держатель расточного инструмента для мостов JIS B 6339 Гайка GER Держатели Инструмента Тип Втулка Z Коллет ER загерметизированный, жесткий Держатель инструмента Тележка TL Держатель инструмента тележки TH Расширение держателя расточного инструмента Держатели инструмента Втулка типа CV Держатель инструмента вагонетки TD Канальный термоусадочный патрон MQL1 Термоусадочный патрон SK 4,5 ° HSK-A Тонкий термоусадочный патрон 3 ° Головка с осевым приводом VDI, смещение, DIN 1809 Машина Термоусадочная Fit держатель инструмента Гидравлический патрон Стандартный Инструменты 2025-HSK-T Расточные Бар Уменьшение Рукав Гидравлический Чак Особенности Демпфирующий держатель Face Mill BRIGHT-TOOLS Термоусадочная посадка Комплект держателей для инструментов с ЧПУ BRIGHT-TOOLS ISO тянуть шпильки Шаровой гаечный ключ Форма радиального держателя B4 Перевернутый влево, короткий ER Загерметизированная гайка Унций цанговый патрон DIN2080 Комби Shell Мельница Держатели B1B4AK Радиальные, короткие, охлаждающая жидкость, клиновые зажимные держатели HSK-E Гидравлический патрон, стандартный Держатель расточной балки BMT, внутренняя и внешняя охлаждающая жидкость MTA прямой хвостовик нарезной патрон DIN 69871 Мост расточного инструмента Держите DIN 69893 Мост расточного инструмента Держите Редуктор держателя расточного инструмента Мощность BBT фрезерный патрон Фрезерный патрон SK Power CAT Power Фрезерный патрон MQL2 Канальный термоусадочный патрон SK Термоусадочный патрон 4,5 °, охлаждающая жидкость HSK-E Тонкий термоусадочный патрон 3 ° Термоусадочный патрон расширение охлаждающей жидкости Головка с радиально-приводным приводом VDI, смещение, DIN 1809 Каталог Гидравлический патрон Мощность фрезерный патрон 2025-NT Инструменты Держатели Инструмента Втулка Приборы чистки держателя инструмента Держатель демпфирующего инструмента Тонкий термоусадочный патрон, 3 ° Мазак BT тянуть шпильки Форма радиального держателя B5 правый, длинный Цанговый патрон TG DIN2080 Держатели концевой фрезы Weldon B2B3A Радиальный, короткий, охлаждающая жидкость Гидравлический патрон BBT, стандартный HSK-T Токарный инструмент DCLNR | DCLNL 95 °/80 ° Двойной резак грубой расточной головки ER Герметичная цанга Гайка oz BSB90 ° расточной держатель с квадратной расточной бит Держатель расточки TQC 45 ° с квадратной расточной головкой Мазак кошка тянуть шпильки Термоусадочный патрон CAT 4,5 ° Головка с осевым приводом VDI, DIN 5480 Часто задаваемые вопросы Команда продаж 2025-ГОСТ Инструменты Держатель Инструмента Блокировки Устройства Принцип работы держателя гидравлического инструмента Держатель инструмента мод Встроенный держатель сверлильного инструмента для демпфирования ЯРКИЕ-ИНСТРУМЕНТЫ CNC частей Мост Грубая расточная головка Форма радиального держателя B6 левый, длинный Прецизионный винтовой цанговый патрон Цанговый патрон DIN 69871 OZ DIN2080 конус Морзе адаптер с Тан B2B3AK Радиальные, короткие, охлаждающая жидкость, клиновые зажимные держатели Тонкий Термоусадочный Чак Расширение 3 ° Гидравлический патрон SK, стандартный HSK-T Токарный инструмент PCLNR | PCLNL 95 °/80 ° Гайка СКС Маленькая тонкая расточная головка NBJ20 микро-расточные бар Набор сверлильный инструмент BH2084 DCK5-FB50P Набор для сверления Micro-Nishing DCK6-FB50P Набор для сверления Micro-Nishing CAT термоусадочный патрон 4,5 °, охлаждающая жидкость 2 шт. Тонкий термоусадочный патрон BT, охлаждающая жидкость Головка с радиельным приводом VDI, DIN 5480 HSK-A Термоусадочный патрон, 3 °, обычный, охлаждающая жидкость Новости Угловая головка Инструменты 2025-VDI Держатель инструмента JIS B 6339-BT Выставка станков 2019 Трубка охлаждающей жидкости HSK Особенности двух кузовных термоусадочных патронов Модуль Термоусадочная Fit Чак Мощность фрезерный патрон Термоусадочный патрон CNC станок инструмент аксессуары Форма радиального держателя B7 перевернутый вправо, длинный Цанговый патрон ANSI B5.50 TG DIN2080 Конус Морзе адаптер с дышлом B5AK Радиальные, длинные, охлаждающая жидкость, клиновые зажимные держатели HSK-T Токарный инструмент DCMNN 50 °/80 °/50 ° Герметичная цанга для нарезания резьбы ER Гидравлический патрон BT, тонкий HSK-A Термоусадочный патрон 4,5 ° Головка с осевым приводом VDI, смещение, DIN 5480 HSK-E Термоусадочный патрон, 3 °, обычный, охлаждающая жидкость HSK-F Термоусадочный патрон, 3 °, обычный, охлаждающая жидкость Контакт Нас ЦОП Держатели инструмента JIS B 6339-BBT Выставки BRIGHT-ИНСТРУМЕНТЫ В 2018 году Кольцо привода сцепления Принцип работы термоусадочного патрона Цанговый патрон BBT SKS Термоусадочный инструмент Fit Цанга с прямым хвостовиком Форма радиального держателя B8, перевернутый влево, длинный Прецизионный винтовой цанговый патрон ANSI B5.50 Держатели инструмента DIN2080 адаптер рукав B6AK Радиальные, длинные, охлаждающая жидкость, клиновые зажимные держатели Термоусадочная цанга ER Fit HSK-T Токарный инструмент PCMNN 50 °/80 °/50 ° Гидравлический патрон SK, тонкий Мощность фрезерный патрон HSK-A Термоусадочный патрон 4,5 °, охлаждающая жидкость Головка с радиально-приводным приводом VDI, смещение, DIN 5480 Отраслевые решения Держатели инструмента JIS B 6339-NBT Как проверить точность Биение держателей инструмента Er? Выставки BRIGHT-ИНСТРУМЕНТЫ В 2017 году 2025-BMT Инструменты Стопорный винт Держатели ББТ Лицо Мельница Держатели инструмента Инструмент CNC Унций цанга Осевой держатель Форма C1 правый Цанговый патрон DIN 69871 SKS Дюймовый держатель лицевой мельницы ANSI B5.50 Адаптер сверлильного патрона DIN2080 B7AK Радиальные, длинные, охлаждающая жидкость, клиновые зажимные держатели Термоусадочная подгонка ER удлинитель цанги Гидравлический патрон CAT, тонкий HSK-E Термоусадочный патрон 4,5 ° Головка с осевым приводом VDI, DIN 5482 Результат поиска Решения клиентов Держатели инструмента DIN 69871-SK Ежегодные поездки BRIGHT-TOOLS 2025-Управляемый инструмент Зажимные комплекты 58 PCS Шаги деятельности загрузки держателя инструмента сокращения подходящей как следует Держатели BBT Combi Shell Мельница Цанга СКС Осевой держатель Форма C2 слева Потяните назад цанговый патрон DIN 69871 Лицо Мельница Держатели DIN2080 APU Держатели сверлильного патрона C1C4A Осевой, охлаждающая жидкость Набор термоусадочных патронов HSK-T Токарный инструмент PDJNR | PDJNL 55 °/93 ° Гидравлический патрон HSK, тонкий HSK-F Термоусадочный патрон 4,5 ° Головка с радиально-управляемым приводом VDI, DIN 5482 Карта сайта BRIGHT-TOOLS 2016 Новые товары 2025-SHRINK Инструменты Держатели инструмента DIN 69871-ISO Носитель данных Balluff ЧПУ термоусадочная Fit патрон Цанга ndc Осевой держатель Форма C3 Перевернутый вправо Цанговый патрон SKS DIN 69871 Комби Shell Мельница Держатели Держатель концевой фрезы ANSI B5.50 Weldon DIN2080 Быстрая смена резьбы патрон C1C4AK Axial, охлаждающая жидкость, клиновые зажимные держатели 2 шт. Тонкий термоусадочный патрон HSK-T Токарный инструмент DDNNN 62,5 °/55 °/62,5 ° C Гидравлический патрон, тонкий Головка с осевым приводом VDI, офсет, DIN 5482 404 Держатели инструментов ANSI B5.50 SCAT/CAT ЯРКИЕ-ИНСТРУМЕНТЫ Весенний Вызов Держатели Инструмента Вагонетки 2025-HY Инструменты Держатели концевой фрезы BBT Weldon Осевой держатель Форма C4 Перевернутый влево DIN 69871 Держатель концевой фрезы Weldon C2C3A Осевой, охлаждающая жидкость Тонкий удлинитель термоусадочного патрона из 2 частей Лицо мельница держатель дюйма Держатель концевой фрезы ANSI B5.50 с каналами охлаждающей жидкости HSK-T Токарный инструмент PDNNN 62,5 °/55 °/62,5 ° Цанга постоянного тока Гидравлический патрон BT, силовая конструкция Головка с радиально-приводным приводом VDI, смещение, DIN 5482 Политика конфиденциальности DIN 69893 (ISO 12164) HSK-A Держатели инструментов Выставки BRIGHT-ИНСТРУМЕНТЫ В 2016 году Управляемый держатель инструмента 2025-Расточные инструменты Лицо мельница держатель Адаптер конуса Морзе BBT с Тан Держатели инструмента пригонки сокращения Введение Мы можем произвести приблизительно 30 000 - 50 000 держателей инструмента в месяц Прямоугольный держатель с несколькими сиденьями формы D1 DIN 69871 Держатель инструмента End Mill с каналами охлаждающей жидкости Адаптер конуса Морзе ANSI B5.50 с Tang Термоусадочный патрон, 3 °, тонкий, форма A HSK-T Токарный инструмент DDUNR | DDUNL 93 °/55 ° Цанга для нарезания резьбы без клеммы, метрическая Гидравлический патрон SK, силовая конструкция Тонкий термоусадочный патрон SK из 2 предметов Головка с осевым приводом VDI, TOEM Представление успешно! 2025-Аксессуар держателя инструмента Держатели станка Прямоугольный держатель с несколькими сиденьями формы D2 перевернутый Комбинированный держатель мельницы оболочки DIN 69871 Конец фрезы держатель свистка Notch Втулка адаптера держателей инструментов ANSI B5.50 Цанговый патрон DIN 69893 ER с гайкой UM D1D2A Прямоугольный держатель, охлаждающая жидкость Термоусадочный патрон, 3 °, тонкий, форма B HSK-T Токарный инструмент PDUNR | PDUNL 93 °/55 ° Цанга для нарезания резьбы без клеммы, дюйм Гидравлический патрон HSK, силовая конструкция Головка с радиально-приводным приводом VDI, TOEM Таггг 2025-М Инструменты Держатели фрезерных инструментов в производстве медицинских изделий: жизненно важный компонент 2025-Резаки 2025-Анти Вибрация 2025-Инструменты MOD Держатели инструмента ББТ адаптер рукав Филировать инструмента CNC/поворачивать Цанга для нарезания резьбы с клапаном, метрическая Расточные держатель для индексируемых Вставить сверла формы E1 DIN 69871 Конус Морзе адаптер с Тан DIN 69893 ER цанговый патрон с шестигранной гайкой Держатели инструментов для отключения ARALU, охлаждающая жидкость Термоусадочный патрон, 3 °, обычный, форма A Адаптер сверлильного патрона ANSI B5.50 HSK-T Токарный инструмент DSBNR | DSBNL 90 °/75 ° Гидравлический патрон BT, короткий Головка с осевым приводом VDI, офсет, TOEM Результаты поиска Продукты Главная Каталог От деревообработки до металлообработки: универсальность держателей цанговых патронов Расточная форма держателя E2 DIN 69871 Конус Морзе адаптер с дышлом Держатели сверлильного патрона ANSI B5.50 APU DIN 69893 ER цанговый патрон с мини-гайкой Держатели инструментов для отключения ALARU, охлаждающая жидкость Термоусадочный патрон, 3 °, обычный, форма B Держатель концевой фрезы HSK-T Токарный инструмент PSBNR | PSBNL 90 °/75 ° Гидравлический патрон SK, короткий Головка с радиально-приводным приводом VDI, офсет, TOEM Результаты поиска Другие Каталог подклассов Подъемная электроника: Держатели режущего инструмента с ЧПУ при изготовлении печатных плат Гидравлический держатель инструмента Цанга для нарезания резьбы с клапаном, дюйм Расточная форма держателя стержня E2S Держатель концевой фрезы с каналами охлаждающей жидкости DIN 69871 Держатели инструмента адаптер рукав Прецизионные держатели сверлильного патрона ANSI B5.50 DIN 69893 HSK-A Патрон питания Термоусадочный патрон, 3 °, обычный, охлаждающая жидкость HSK-T Токарный инструмент DSSNR | DSSNL 45 °/90 ° Гидравлический патрон BT, для плесени Головка с осевым приводом VDI, ШТАПНАЯ HAAS Производители держателей инструментов с ЧПУ: улучшение производства медицинских устройств с точностью и качеством Держатели BBT прецизионный сверлильный патрон BRIGHT-TOOLS Термоусадочные держатели инструментов Форма цангового патрона OZ E3 Концевая фреза держатель свистка Notch Быстросменный нарезной патрон ANSI B5.50 DIN 69871 адаптер сверлильного патрона Термоусадочный патрон, изогнутый HSK-T Токарный инструмент PSSNR | PSSNL 45 °/90 ° Гидравлический патрон SK, для плесени Фрезерный патрон HSK Power Головка с радиально-управляемым приводом VDI, ШТАПНАЯ HAAS Повышение производительности благодаря технологии термоусадочного патрона Адаптер конуса Морзе с Tang Держатели сверлильного патрона APU DIN 69871 Ввинчивающаяся фреза ANSI B5.50 Цанговый патрон DIN 69893 OZ Форма цангового патрона ER E4 HSK-T Токарный инструмент DVPNR | DVPNL 117,5 °/35 ° Гидравлический патрон HSK, для пресс-формы Винты установки длины канала MQL1 Термоусадочный патрон BT, изогнутый Головка VDI с осевым приводом, смещенная, ШТАПНАЯ HAAS О гидравлическом держателе инструмента Адаптер конуса Морзе с дышлом Держатели прецизионных сверлильного патрона DIN 69871 ANSI B5.50 Ввинчивающаяся фреза, прямая Цанговый патрон DIN 69893 TG HSK-T Токарный инструмент DVUNR | DVUNL 93 °/35 ° Гидравлический патрон SK, для измельчения Двойной держатель расточной штанга, правый Канальный комплект подачи охлаждающей жидкости MQL1 Тонкий термоусадочный патрон SK, 2 шт., охлаждающая жидкость Головка с радиально-управляемым приводом VDI, смещенная, ШТАПНАЯ HAAS Роль термоусадочных патронов в точности с ЧПУ Держатель инструмента адаптер рукав BBT Биение Регулируемый фланцевый адаптер DIN 69871 быстрая смена нарезной патрон Регулируемый фланцевый адаптер ANSI B5.50 с бегом Дин 69893 точность винт цанговый патрон HSK-T Токарный инструмент DVVNN 72,5 °/35 °/72,5 ° Голова БМТ управляемая, ДИН 1809 Гидравлический патрон MTB Двойной держатель расточной балки, левый Винты установки длины канала MQL2 Термоусадочные патроны при высокопроизводительной обработке Форма переходника конуса Морзе F Адаптер сверлильного патрона DIN 69871 Ввинчивающаяся в держатель фрезы Регулируемые держатели инструмента ANSI B5.50 UM DIN 69893 тянуть назад цанговый патрон HSK-T Токарный инструмент DWLNR | DWLNL 95 °/80 ° Управляемая головка VDI, DIN 1809 Комплект подачи охлаждающей жидкости канала MQL2 Гидравлический патрон, модуль HSK-A Термоусадочный патрон, изогнутый Изучение преимуществ термоусадочных патронов Держатель сверлильного патрона APU Что такое держатели термоусадочных инструментов? Прямоугольная пустая форма A1 DIN 69871 Ввинчивающаяся фреза, прямая Инструмент выравнивания ANSI B5.50 для рычага УВД Цанговый патрон DIN 69893 SKS HSK-T Токарный инструмент PWLNR | PWLNL 95 °/80 ° Управляемая головка VDI, DIN 5480 Гидравлический загерметизированный Collet, Термоусадочный патрон, модуль HSK-E Термоусадочный патрон, изогнутый Сжатие для успеха: термоусадочные патроны в аэрокосмическом производстве Держатель прецизионного сверлильного патрона Проверка точности держателя инструмента Теплоусаживающ Круглая пустая форма A2 DIN 69871 Регулируемый фланцевый адаптер Биение Пустой расточный стержень ANSI B5.50 DIN 69893 Лицо держатель мельницы Гидравлическая герметичная цанга Управляемая головка VDI, DIN 5482 HSK-F Термоусадочный патрон, изогнутый За пределами узких допусков: термоусадочные цанги в аэрокосмической технике Испытательная оправка шпинделя BBT Термоусадочная Fit держатель инструмента Отрезные держатели инструментов Регулируемая правая высота Быстрая смена резьбы патрон Регулируемые держатели инструмента DIN 69871 UM Испытательная оправка шпинделя ANSI B5.50 DIN 69893 Лицо Мельница Держатели HSK-T Токарный инструмент DDQNR | DDQNL 107,5 °/55 °, длинный Управляемая головка VDI, TOEM BARUFFALDI Гидравлическая цанга с каналами охлаждающей жидкости Термоусадочные цанги: революционная точность автомобильного производства Винт-в держатель фрезы Термоусадочные патроны для термоусадочных держателей инструментов Отрезные держатели инструмента Регулируемая высота слева DIN 69871 Расточные бар пустой DIN 69893 Комби Shell Мельница Держатели HSK-T Токарный инструмент PDQNR | PDQNL 107,5 °/55 °, длинный Управляемая головка VDI, СТАРОЧНАЯ HAAS Инструмент выравнивания ANSI B5.50 для рычага УВД Термоусадочные подходят цанги: революционная прецизионная обработка Держатель инструмента гидравлический патрон Подрезать держатели инструмента перевернутая правая высота регулируемая DIN 69871 Испытательная беседка шпинделя DIN 69893 Держатель концевой фрезы Weldon Ввинчивающаяся фреза, прямые HSK-T Токарный инструмент SCLCR | SCLCL 95 °/80 ° 2 шт. HSK-A Тонкий термоусадочный патрон Термоусадочные Fit цанги в строительстве и инфраструктуре Регулируемый фланцевый адаптер для бега Термоусадочная Fit Инструмент Холдинг Отрезание держателей инструмента Перевернутая левая регулируемая высота Инструмент выравнивания DIN 69871 для рукоятки УВД DIN 69893 Держатель концевой фрезы с каналами охлаждающей жидкости HSK-T Токарный инструмент SCMCN 50 °/80 °/50 ° UM Регулируемый DIN 69893 Конец фрезы держатель свистка Notch HSK-T Токарный инструмент SDHCR | SDHCL 107,5 °/55 ° Инструмент выравнивания SK для рычага ATC Классификация держателей термоусадочной инструмент тепла Динамическая балансировка инспекции CMM Форма штепсельной вилки защиты Z2 Инструмент выравнивания для рычага УВД HSK-T Токарный инструмент SDNCN 62,5 °/55 °/62,5 ° Гидравлический патрон, модуль СМТТ 2024 Расточные Бар Пустой DIN 69893 конус Морзе адаптер с дышлом HSK-T Токарный инструмент SDJCR | SDJCL 93 °/55 ° Термоусадочный патрон Принцип и преимущества держателей термоусадочного инструмента Оправка испытания шпинделя Держатели инструмента DIN 69893 адаптер рукав HSK-T Токарный инструмент SDUCR | SDUCL 93 °/55 ° Гидравлический патрон Производительность и применение гидравлических держателей Держатели сверлильного патрона APU DIN 69893 HSK-T Токарный инструмент SSBCR | SSBCL 75 °/90 ° Инструмент выравнивания BT для рычага УВД Цанговый патрон ER Характеристики и типы держателей инструмента BRIGHT-TOOLS BMT Процесс обработки гидравлического держателя инструмента Держатели прецизионных сверлильного патрона DIN 69893 HSK-T Токарный инструмент SSSCR | SSSCL 45 °/90 ° 2 шт. HSK-A Тонкий термоусадочный патрон, охлаждающая жидкость Держатель Инструмента Чистящее Устройство Держатель концевой фрезы Поворотный центр и приводные держатели инструмента Как работает высокопроизводительный держатель инструмента с приводом Цанговый патрон ER BRIGHT-TOOLS Термоусадочный патрон DIN 69893 быстрая смена нарезной патрон HSK-T Токарный инструмент SVPBR | SVPBL | SVPCR | SVPCL 117,5 °/35 ° Держатель инструмента Принцип работы держателя инструмента HSK E50 Типы держателей инструментов HSK Держатель Инструмента Adatper Рукавом Цанга ER DIN 69893 Ввинчивающаяся в держатель фрезы HSK-T Токарный инструмент SVUBR | SVUBL | SVUCR | SVUCL 93 °/35 ° Анализ преимуществ и применений патронов филируя силы Термоусадочные подходящие машины Как обрабатываются и используются держатели инструментов ER? DIN 69893 Ввинчивающаяся фреза, прямая HSK-T Токарный инструмент SVVBN | SVVCN 72,5 °/35 °/72,5 ° Преимущества и применение термоусадочной Fit Collect DIN 69893 Регулируемый фланцевый адаптер Биение HSK-T Токарный инструмент SVJBR | SVJBL | SVJCR | SVJCL 93 °/35 ° Характеристики и функции приводных держателей инструментов, которые должны знать новички Регулируемый держатель инструмента DIN 69893 UM HSK-T Токарный инструмент Long SDQCR | SDQCL 107,5 °/55 ° Каковы характеристики гидравлического патрона? Как работает принцип работы гидравлического патрона? Инструмент выравнивания DIN 69893 для рукоятки УВД HSK-T Токарный инструмент Длинный SVQCR | SVQCL 107,5 °/55 ° Табу на применение установки гидравлической цанги DIN 69893 Расточные бар пустой 2 шт. HSK-E Тонкий термоусадочный патрон Что такое термоусадочные держатели инструментов? Тест оправки шпинделя DIN 69893 2 шт. HSK-F Тонкий термоусадочный патрон Инновационный дизайн и применение держателей термоусадочного инструмента Применение термоусадочные держатели в прессформы подвергая механической обработке Выбор держателя ЧПУ DIN 69893 (ISO 12164) HSK-E Держатели инструментов Преимущества использования держателей инструмента VDI в поворачивать CNC Держатель инструмента CNC подвергая механической обработке гидравлический патрон DIN 69893 (ISO 12164) HSK-F Держатели инструментов Сценарии применения гидравлических держателей DIN69893 (ISO12164-1)-HSK-T Держатели инструментов Резюме точек знаний по гидравлическим держателям Термоусадочный патрон BRIGHT-TOOLS DIN2080-NT Держатели инструментов Гидравлический держатель: высокоточный инструмент для производства Держатель цанги BRIGHT-TOOLS для термоусадочного станка с ЧПУ ГОСТ 25827-93 Держатели инструмента Знания, связанные с держателями ЧПУ Гидравлический фрезерный патрон Сравнение производительности различных типов держателей инструмента Термоусадочный патрон Знаете ли вы, как выглядят ручки термоусадочного инструмента? ГОСТ 25827-93 ER цанговый патрон Конструкция держателя инструмента BBT и его применение на станках с ЧПУ ГОСТ 25827-93 Мощность фрезерный патрон Процедуры безопасной эксплуатации и обслуживания держателя термоусадочного инструмента ГОСТ Мощность фрезерный патрон Анализ разницы и применения держателя закручивая инструмента и гидравлического держателя Каковы классификации держателей термоусадочных инструментов? Разница между держателями инструмента BT и BBT Термоусадочная Fit Chuck Классификация держателей термоусадочного инструмента ГОСТ 25827-93 Лицо Мельница Держатели Принцип работы и безопасная эксплуатация гидравлического держателя ГОСТ 25827-93 Комби Shell мельница Держатели Принцип и преимущества держателей термоусадочного инструмента DIN 69893 (ISO 12164) HSK-F Цанговый патрон ER ГОСТ 25827-93 Держатели концевых фрезов Weldon Как обеспечить безопасность обработки при использовании держателя инструмента HSK? DIN 69893 (ISO 12164) HSK-F Цанговый патрон OZ ГОСТ 25827-93 Конический переходник Морзе с Тан Структура и преимущества держателей инструмента HSK DIN 69893 (ISO 12164) HSK-F Держатели лицевой фрезы ГОСТ 25827-93 Конический переходник Морзе с дышлом Держатель инструмента HSK: секретное оружие для эффективной обработки DIN 69893 (ISO 12164) HSK-F Держатели концевой фрезы Weldon GOST 25827-93 APU Держатели сверлильного патрона Какова минимальная длина зажима держателей термоусадочного инструмента? Термоусадочный патрон Держатели инструмента Аксессуары для станков DIN 69893 (ISO 12164) HSK-F Адаптер конуса Морзе с Tang ГОСТ 25827-93 Быстрая смена нарезной патрон Функция и важность VDI ToolHolder Как работают держатели термоусадочных инструментов? DIN 69893 (ISO 12164) HSK-F Держатели прецизионных сверлильного патрона Гидравлический держатель инструмента: отличный выбор для высокоточной обработки DIN 69893 (ISO 12164) HSK-F Расточная штанга пустая Bright-Tools: лидер в производстве держателей инструментов DIN 69893 (ISO 12164) HSK-F Испытательная оправка шпинделя Стандарт и функции HSK охлаждающей жидкости трубы CIMT2025 КИТАЙ МЕЖДУНАРОДНОЕ ШОУ МАШИНЕТУЛА Различия между держателем BT и держателем инструмента SK Преимущества и принципы термоусадочного держателя инструмента Особенности и преимущества SK Tool Holder Держатель инструмента DIN 69880 VDI: идеальный выбор для высокоточной обработки Конструкция держателя инструмента HSK и держатель инструмента DIN 69871: в чем реальная разница? EMO 2025 Стенд № Hall4, D58 Как гидравлические патроны работают, чтобы сделать вашу жизнь с ЧПУ проще Как определить различные типы держателей инструмента HSK для применений CNC Услуги
Яркий-Инструменты, Яркий-Будущее
Электронная почта: :
Sales@bright-tools.com
Телефон: :
86-534-8127588
Скайп: :
Sdjinjie101
Адрес :
253000, Chongde 5th Avenue, Gaotie Новый район, Дэчжоу, Шаньдун, Китай.